   |
Hungarian Weapons - Frommer Femaru Shotguns
|
Frommer Fegyvergyar 29 Minta (29M) [Model 1929] Double Barrel Shotgun


Rudolf Frommer and his team at Femaru- Fegyver- es Gepgyar Rt, Budapest, started designing a double barreled shotgun after WW1 in 1920.
While the design was proceeding, the first shotguns produced utilized Belgian made barrels as shown here. The original Belgian markings (such as the 'ELG in the oval') are visible on the outside edges of the barrel flats.
The inner areas of the flats contains the Hungarian markings. The 'FN' means Fust Nelkuli [Smokeless], not Fabrique Nationale. The circle with St. Stephen's Crown is the civilian acceptance stamp. The 'BP' indicates Budapest,
not Black Powder. The 'Nem Golyonak", [Not for Ball / Non Pour Balle / Nicht Fur Kugel] means the barrel is choked. The '/25' after the serial indicates the acceptance date 1925. Usually an inspection mark, an 'I' inside a
caligraphic 'V' can be found on these flats. The Caliber and the length of the chamber are marked by numbers in a rhomboid shaped box.
1929-1945 Shotgun Variants
The right side of the frame of a 1930 dated shotgun. Typical legend is 'Fegyvergyar Budapest' and 'Frommer's Patents'.
Shotguns intended for export were marked 'Made in Hungary'.
The left side of the frame of a 1930 dated shotgun. Markings were the same on both sides. These shotguns had little (simple hunting scenes)
or no factory engraving'.
Shotguns intended for export displayed the appropriate US and other patent numbers on the barrel (1930).
The barrel flats carried typical markings, including '/30' manufacturing date(1930), 'N-shield' Nitro-proof marks, the caliber (16), etc.
These barrels were Nitro-profed again three more times: in 1974 1979 and in 1985
The inspection mark, an 'I' inside a caligraphic 'V'.
St. Steven's Crown and BP (for Budapest) in a circle [Hungarian non-military acceptance mark]. The 'FN' means Fust Nelkuli [Smokeless],
not Fabrique Nationale, Herstal, Belgium.
As shown on another 1930 dated shotgun, some of these guns can be found with customized engraving.
Most likely these additional engravings were not done by the factory, as the engravings often interfere with the
original Manufacturer's legend.
This 1942 dated shotgun was heavily and beautifully engraved. It has no export marks, and the barrels are simply marked 'Fegyvergyar'.


The barrel flats have the typical markings described above, plus "Bohler Blitz". Bohler is a steel manufacturer in Austria, a subcontractor for
the Fegyvergyar.
Post-1945 Shotgun Variants
The right side of the frame of a 1957 dated shotgun. The new legend 'Lampagyar Budapest' reflects the factory's name change in 1946.
Shotguns intended for export were still marked 'Made in Hungary'. The model name 'Monte carlo - A' is shown.
The frame flats now display the Communst Era Kadar Crest' from 1957.
The barrel flats have the typical markings described above, with the following changes: The Crown acceptance mark is no longer used,
the 'I' in the 'V' inspection mark was revised to be an 'I' in a nearly full circle.
The right side of the frame of a 1963 dated shotgun. The legend 'Lampagyar Budapest' is no longer used. The model name is shown as 'Monte carlo'.
It is also marked 'Import' (maybe a Canadian mark?).

These 1967 dated barrel flats have the typical post-WW2 markings described above. It was Nitro Proofed again in 1978.
Additional Notes
The highest serials reported are 83304 from Canada and 92160 from Australia.
Action: boxlock with side mounted cocking indicators, extractors, double triggers, push button release forearm and a full grip stock.
.
Original metal finish was polished bluing. The stock and forearm are made of checkered walnut, with a cheekrest.
70mm [2.75"] chambers with Full and Modified Chokes.
Calibers reported: 12ga, 16ga, 20ga
A unique removable spring loaded ejector is located in the forearm. The ejectors will throw the emptied shells to about 2 meters each side. The ejection can be simply disabled by removing the ejector assembly from the forend.
A small number of these shotguns were exported to Canada, probably through Hege Waffen West German gun dealer 1965-68. Some of these shotguns were marked 'Hege' on one side and 'Monte carlo' on the other.
Other Frommer 29M model variants: Continental (1972), Victoria (Please provide photos and dates to the author if you have these).
The Continental Models were reported from Canada and Australia and the serials have an E-prefix.
The mark 'NP' and 'B' indicates Nitro Proofing in Budapest, used until 1971. Pressure tested at minimum 850 kg/cm2.
From 1971 the Nitro Profing symbol was changed to a heraldic shield with a wavy stripe and a letter 'N' (Nitro) on top. As guns were re-tested, several older and newer Nitro Proof marks can be found.
Some of the 1938-1946 manufactured shotguns have the 'FFG' in a shield marking indicating a short lived logo of the Femaru Fegyver es Gepgyar.
The underside of the barrel may have a 4-digit number indicating the weight of the tubeset in grams.
The newer version of these shotguns is marketed under the Model designation FEG 100ES.
Date - Serial Number List
1927: 3072 - 3390 (Opening levers behind the trigger guard)
1942: 17428
1963: 38469 - 40419
1964: 46767
1965: 53938 - 59129
1967: 70198
1968: 83304 (Canada)
1969?: 92160 (Australia)
1971 : E2454 (Victoria Model reported from Canada)
1972: E5100 - E6400 (Continental Model, reported from Canada & Australia)
Please submit your gun's date and serial to update this data
Frommer Fegyvergyar 29 Minta (Model 1929) Double Barrel Shotgun Patents
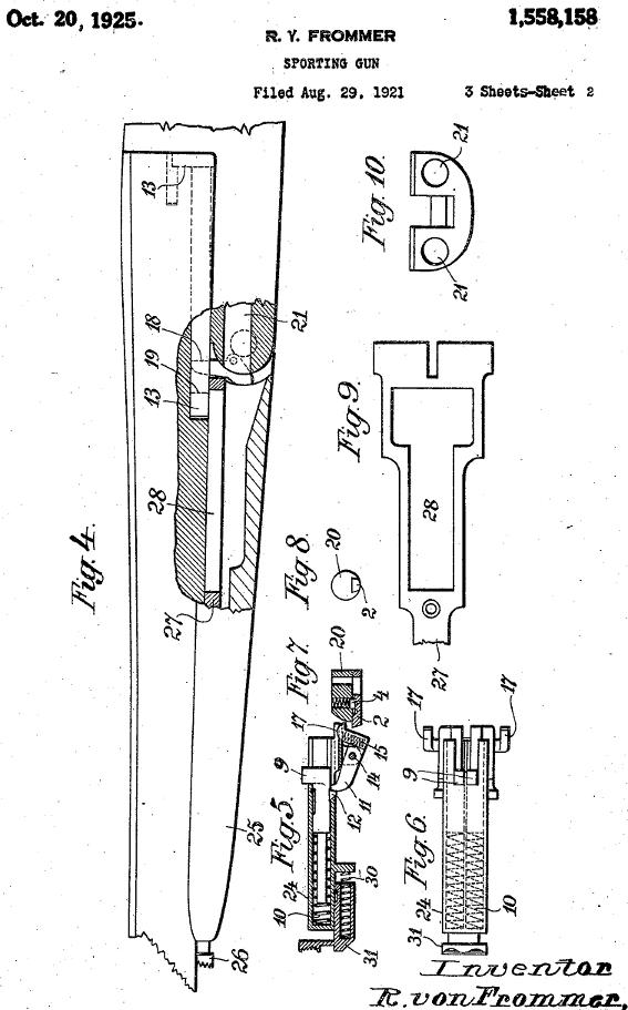
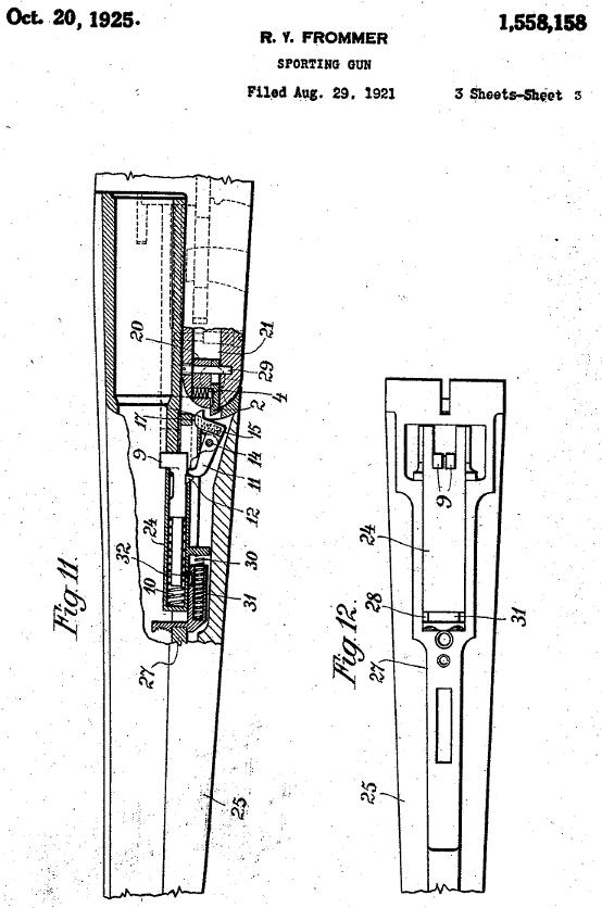
Patent Publication Number: US1558158 A
Filing date: Aug 29, 1921 - Publication date (Patented on): Oct 20, 1925
Inventor: Rudolf V Frommer
Abbreviated text of patent:
Be it known that I, Rudolf Von Frommer; citizen of Hungary, residing in Budapest, in the county of Pest and State of Hungary, have invented certain new and useful improvements in Sporting Guns.
The invention relates to a sporting gun, provided with a cavity in the forend for a cartridge ejector.
Drawing list:
Fig. 1 is a longitudinal section of the forend, the gun has been fired and it is still in a locked condition, with a cocked ejector device and with the disengager in active position.
Fig. 2 shows the opened gun barrel, the ejector already thrown forvward.
Fig. 3 shows the recocked ejector device, with the disengager pushed back into its inactive position.
Fig. 4 is a partial sectional side view.
Fig. 5 is the section of the ejector with the hammer retained.
Fig. 6 is the top view of the same.
Fig. 7 is a sectional view of the removed releaser.
Fig. 8 is a front view as seen from the left side of Fig. 7.
Fig. 9 is the top plan view of a part of the bolting guide, that is in the stock forend.
Fig. 10 is a front view of the lower part of the breech body.
Fig. 11 is a view of the sporting gun, corresponding to Fig. 4 with the ejector fitted in.
Fig. 12 is a top view of the forend as it is removed from the gun and with the ejector fitted in.
The cartridge extractor 13 will be hurled back in the well known manner when opening the gun by the striking piece 9, which is effected by the spring 10 with such a force, that the cartridge extractor will eject the shell from the chamber. For this purpose the striking piece 9 will be retained in its forward pressed position (Figs. 1 and 3) in which it presses the spring 10 together by the retaining lever 11, which is pivoted on pin 14, because the lever 11 places itself in front of the nose 12 of the striking piece (Figs. 1 and 3). Thus for ejecting the cartridge shell, only the retaining lever 11 must be swung around the pin 14, to release the striking piece 9. For this end the lever 11, which is pressed by the spring 15 into its locking position, is provided at its rear end with a nose 17. Upon the tilting movement of the barrel the nose 17 is pushed against the tooth at the forend of the disengaging slide 2 when the last mentioned is in its forward position as shown by Figs. 1 and 2. Thus, when tilting the barrel, the lever 11 swings its pin 14 and releases the nose 12 of the striking piece 9. In consequence thereof spring 10 throws the striking piece and thus the cartridge extractor instantly back, and thus the cartridge shell is thrown out of the barrel.
When tilting back the barrel, the cartridge extractor 13 will be pushed back by the breech body of the gun in the known way, thus pressing back the striking piece 9 so that the spring 10 will be tensioned. Furthermore, through the nose 17 of the cocking lever 11 also, the disengaging slide 2 is pressed back a little (Fig. 3) so, that the latter gets into its inactive position. The two positions of the disengager 2 will be determlned by the spring bolt 4 in such a way that the latter snaps into the notches of the slide 2, which correspond to the two positions.
For the purpose that the disengager 2 may be pressed again into its active position at the firing of each cartridge, it will be so be employed for two fected at its rear end by the head 8 of the guiding stem of the hammer 6, that when firing the gun the head 8 presses the disengager 2 forward into its active position (Fig. 1).
Of course, this ejector arrangement will work in double barrel guns as well as for single barrel guns. As the ejector arrangement is provided only for the purpose of throwing out the spent cartridges, it is a matter of course, that for each barrel a separate ejector, and also a separate cartridge extractor must be provided.
An unspent cartridge will not be pulled out of the barrel by the cartridge extractor 18, which has the usual form, exactly the same way as with the usual guns, without an automatic ejector, because the disengager for the barrel, in which there is an unspent cartridge, remains in its pushed back position and thus does not swing the cooking lever 11 when opening the gun, and in consequence the striking piece 9 will be also retained.
When tilting the barrel, the cartridge extractor 13 pushes the cartridge shell back by the aid of a thumb 18, arranged at the end of the fore part of stock, even if the automatic ejector is in operation. By this means the spent cartridge in the chamber will be loosened and the effect of the automatic ejector upon the shell will be augmented. The disengager 2, the cooking lever 11 and the cut away part 19 of the cartridge extractor 13 are so arranged, that the thumb 18 does not prevent the working of the striking piece 9 and the cartridge extractor 13 in operating the automatic ejector.
As it can be seen from Figures 4-10, according to the essence of the invention, on the one hand the disengager 2 is fitted with its spring bolt into the body 20 and the former as a compact whole can be put in or taken out of the bore 21 of the breech body of the gun. With double barrelled guns there are, of course, two such disengager elements required, which can be placed into the two bores 21 of the breech body, Fig. 10.
For fixing the above said component group in the breech body, there is the threaded bolt 29. The striking pieces 9 with their springs 10 and the cocking lever 11 are also fitted as a compact group, being arranged on a special frame 24 which can be fixed upon a corresponding part of the gun. With the constructional form represented in the drawing, in the guiding plate 27, which is arranged for fixing the fore end of stock to the barrel there is a slot 28 arranged, into which the frame 24 fitted with its elements, can be put in or taken out as a compact unit.
This will be done preferably on that side of the forend, which touches with the barrel or the barrels of the gun. This is the way to protect this component group against outer influences and dirt and to make it of easy access after dismounting the forend from the barrels, for fitting in or removing from the foreend. The fixing of this component group in the fore end of'stock will be done by the Letters of Patent as follows: Bolt 31, which is under the effect of the spring and its motion is limited by the pin 32.
Inventor's Claim:
1. What I claim as new and desire to secure, in a sporting gun of the pivoted barrel type, a shell extractor, means for forcing the extractor rearwardly of the barrel each 15. open the rear end of they barrel, unitary time the barrel is swung about its pivot to automatic ejector mechanism detachably associated with the barrel and adapted to forcibly move the extractor rearwardly when the barrel is swung about its pivot in one direction, and hand actuated means for locking the ejector mechanism in position, said hand actuated means permitting the operator to instantaneously attach or detach the ejector mechanism to or from the gun.
2. A sporting gun of the pivoted barrel. The 9 shell extractor, means for moving the extractor rearwardly of the barrel when the barrel is swung one direction about its pivot, a forend associated with the barrel and provided with a cavity, a slotted member associated with the forend, a movable abutment mounted on the gun, a unitary automatic ejector mechanism extending into said slot and cavity and engageable with the extractor, said ejector mechanism including a trigger adapted to engage said abutment for releasing the ejector mechanism when the barrel is swung about its pivot in one direction, and hand actuated means for locking the ejector mechanismin the forend, said hand actuated mechanism permitting the operator to in Istantaneously attach the ejector mechanism forend.
3. In a sporting gun of the pivoted barrel type, a forend and a breech provided with 7 cavities, a shell extractor associated with the 1 barrel of the gun, means for gradually moving the shell extractor rearwardly when the barrel is moved about its pivot in one direction detach ejector mechanism from said direction, a movable abutment mounted when the plunger is released, a trigger mounted on said frame for normally holding the plunger in a position in which its spring is compressed, and a nose on the trigger adapted to strike said abutment when the barrel is swung in one direction for releasing the trigger.
4: A sporting gun of the pivoted barrel 7 type including a breech and a forend and barrel pivotally mounted on the breech, said forend being provided with a cavity, and the breech, a frame mounted in said cavity, a hand-controlled spring-pressed bolt for abutment member detachably connected to latching the frame in the cavity, a spring pressed plunger mounted on the frame, a shell extractor arranged on the barrel and adapted to be forcibly thrown rearwardly by said plunger, a nose on the plunger, spring, pressed trigger mounted on said frame and normally engaging the nose to prevent the plunger from moving rearwardly, and an extension on the trigger adapted to engage said abutment when the barrel is moved in, is one direction about its pivot causing the trigger to actuate and release the plunger.
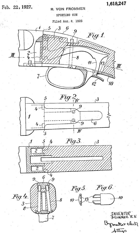
Patent Publication Number: US1618247 A
Filing date: Aug 8, 1925 - Publication date (Patented on): Feb 22, 1927
Inventor: Rudolf V Frommer
Hungarian Patent August 22, 1924
This invention relates to a novel kind of construction of the butt of sporting guns and its connection with the stock and has for its object to prevent the side portions of the fork shaped butt from being pressed together or being divergently bent outwards
and also to prevent the stock from performing an upward movement. According to the invention this end is attained by providing projections on the front surface of the butt fitting into corresponding grooves formed in the stock of the weapon.
The invention also relates to a novel mode of assembling the stock and the trigger guard by means of screws going through the butt of the weapon. The assembling of these parts of the weapon has been carried out heretofore in such a manner that the 20 head of the screws was protruding from the extension of the stock whereby the smoothness of the surface of such extension and its capability of being engraved was affected. Furthermore as it is very important for sporting guns to have a nice outlook these screws had to be so adjusted that the cuts for the screw-driver should lie parallel with the longitudinal direction of the weapon. According now to the present invention the extension of the stock and the trigger guard are interconnected by means of two screws starting from said trigger guard in such a manner that their heads are being hidden within said trigger guard whereby 5 an adjustment of the heads of the screws may be dispensed with. The thread of the screws is being screwed into a bore in the extension of the stock provided with the female thread advantageously in such a manner that the ends of the screws should not reach the surface of the extension of the stock.
With the fact in view that butts for sporting guns are requested to be light in weight and of a nice shape such butts are always endeavoured to be made of small dimensions. In order to enable thin and small dimensioned butts of this kind to be sufficiently resistant it is essential that the fibres of l the wood should be disturbed by bores and cuts to the smallest extent possible so that it is desirable to omit every screw that can be spared. According now to the invention in cases where the trigger guard must be made of two pieces, in order to protect the solidity of the butt and to save screws the parts of the trigger guard are interconnected by means of a swallowtail connection or the like so that separate screws for this pur pose may be omitted.
In the accompanying drawing one form of the sporting gun according to the invention is shown by way of example.
Fig. 1 is a longitudinal sectional view of the butt and the breech of the weapon.
Fig. 2 is a top view of the same.
Fig. 3 is a longitudinal sectional view.
Fig. 4 is a cross sectional view.
Figs. 5 and 6 represent a front view and a top view respectively of the extension of the trigger guard.
The front surface of the stock 1 which is in touch with the butt 3 is provided with grooves 2 into which the projections 4 provided on the front surface of the butt 3 are engaging. The projections 4 are exactly fitting on the whole of their circumference into the grooves 2 thereby securing the wood of the butt against being pressed together or being divergently bent outwards. As a 7 consequence of the projections 4 fitting at every point exactly into the grooves 2 the connection between the stock 1 and the butt 3 is extremely rigid, which is a very effective measure against the tendency of the stock to move upwards when firing. The assembly of the stock and the butt is performed in such a manner that the stock is turned on the butt past an arch whereby care must be taken of the extension 6 fitting into the groove of the butt and the projections 4 of the butt fitting into the grooves 2 of the breech, whereupon the trigger guard 7 is being mounted on the butt.
As may be seen from Fig. 1 the stock 1 and the trigger guard 7 are interconnected by means of screws 8, see also Fig. 4. The heads of these screws are sunk into the trigger guard, while the threads of the screws are penetrating into the bores 9 formed in the extension 6 and provided with the female thread without the screws reaching the upper surface of the extension 3, whereby the latter remains unhurt and is capable of being engraved in whole.
The trlgger guard 1 completed at one 7 end by the piece 10 which is made fork shaped and is provided with swallow-tail teeth 13 which maybe pushed into corresponding notches in the trigger guard 7, thus interconnecting the piece 10 with the trigger guard 7 without the aid of screws. The fork-shape construction of piece 10 is necessary in consequence of the butt fork portion of piece 10. It is the application of this breech lever 11 whiich is provided with a pressing button 12 that makes it necessary for the trigger guard to be manufactured of two pieces because in the contrary case the breech lever could not be assembled into the triggerguard.
Claims:
1. In a sporting gun a fork shaped wooden butt, projections on the front surface thereof formed directly out of the Wood of the butt and a breech having grooves on its rear surface, said projections fitting into said grooves.
2. In a sporting gun a butt having on its front surface projections, a stock having on its rear surface grooves fitting upon said projections and an extension fitting in a groove on the top side of the butt, a trigger guard, and screws interconnecting the trigger guard with said extension the heads of said screws being hidden in the trigger guard;
3. In a sporting gun a butt having on its front surface projections, a stock having on its rear surface grooves fitting upon said projections and an extension fitting in a groove on the top side of the butt, a trigger guard, and screws interconnecting the trigger guard with said extension the heads of said screws being hidden in the trigger guard and the threads being screwed in threaded recesses of the said extension without reaching the outside surface of the extension.
4. In a sporting gun its front surface projections, a stock having on its rear surface grooves fitting upon said projections and an extension fitting in a groove on the top side of the butt, a trigger guard consisting of two parts connected together by teeth and notches.
5. In a sporting gun a butt having on its front surface projections, a stock having on its rear surface grooves fitting upon said projections and an extension fitting in a groove on the top side of the butt; a trigger guard having a front part and a rear extension the latter being connected with the front part by teeth on the extension fitting in corresponding notches of the front part.
Home